[My site ]
Main » 2013 » December » 12 » Warsha - 3amaly
11:36 PM
Warsha - 3amaly
- توصيل اللمبة العادية :-

- توصيل لمبة فلوروسنت :-
** فائدة الـ starter  : تعويض فرق الجهد حيث أن الجهد 220 ينقسم بين الـ chock واللمبة


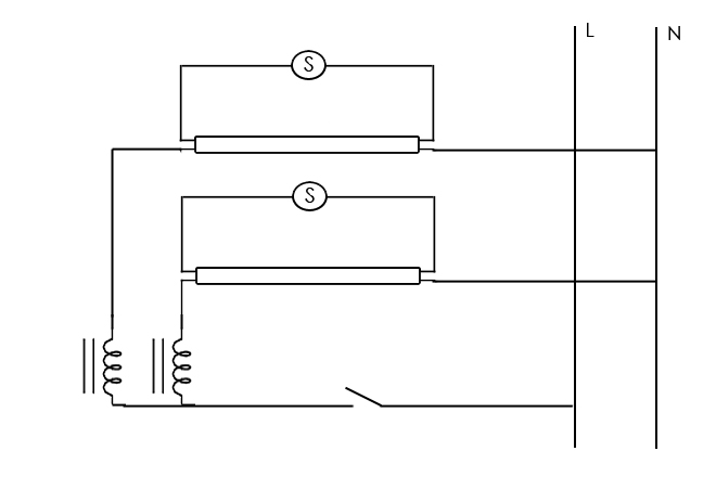
- توصيل لمبتين فلوروسنت (نيون)

- توصيل لمبتين عاديتين

- توصيل لمبة عادية ولمبة نيون
- توصيل المفتاح الدفتاتيري


Category: Electrical Engineering - 1 | Views: 605 | Added by: ahansaary | Rating: 0.0/0
Total comments: 0
Only registered users can add comments.
[ Sign Up | Login ]